Sy deg ny stue

Oppussing av møbler
Sy deg ny stue
{Name}

IFI.NO
Publisert

Her er fremgangsmåten for å få helt ny stue med tekstiler. Både sofatrekk og gardiner har vi sydd selv.

Innhold

Følj

Følg ifi.no på Facebook, TikTok og Instagram.

Registrer deg her og motta vårt nyhetsbrev, med nye artikler og nyttige tips 2-3 ganger i måneden.

Dele

Annonse
Auson annons

Denne jobben krever nøyaktighet og god tid, men til gjengjeld er det en rimelig og flott forvandling.

Forberedelser før søm

Lag en mal til putene med klar bygningsplast. Legg puten på et bord slik at det blir lett å arbeide med. Sett fast bygningsplasten med knappenåler på den ene siden av en pute. Tegn så med litt tykk tusj langs sømmene på puten. Ta ut knappenålene og klipp ut mønsteret. På denne måten får du de riktige avrundingene i hjørnene. Det utklipte mønsteret legges på et dobbelt stykke stoff, slik at du får til begge sider av puten. Klipp det doble stoffet med godt sømmonn, ca. 2,5 cm. Det er greit å ha litt å gå på. Bruk samme fremgangsmåte på armlenene, men la det være rikelig med stoff på innsiden av disse for å kunne dytte stoffet ned i sprekkene mellom sete og armlenet.

 

Se stuen som sofatrekket ble laget til her.

Tykkelsen og omkretsen på putene, og bredden og lengden på armlenet, måler du med et metermål. Skriv ned målene, så har du dem under hele arbeidet. Hvis du vil ha en kant på sømmene, slik som på bildet, må du beregne 2 cm ekstra høyde på putetykkelsen og bredden på armlenene. Utsiden av sofaen/armlenet beregnes nedentil med ca. 6 cm sømmonn til opplegg. Det samme gjelder fronten (det smale stykket) på armlenet.

Ta også mål av nederdelen/fronten på sofaen. Beregn ca. 10 cm inn på setet og ca. 6 cm opplegg nede. Husk at her skal det også være stoff nok på sidene til å dytte det inn i sprekken mellom fronten og armlenet.

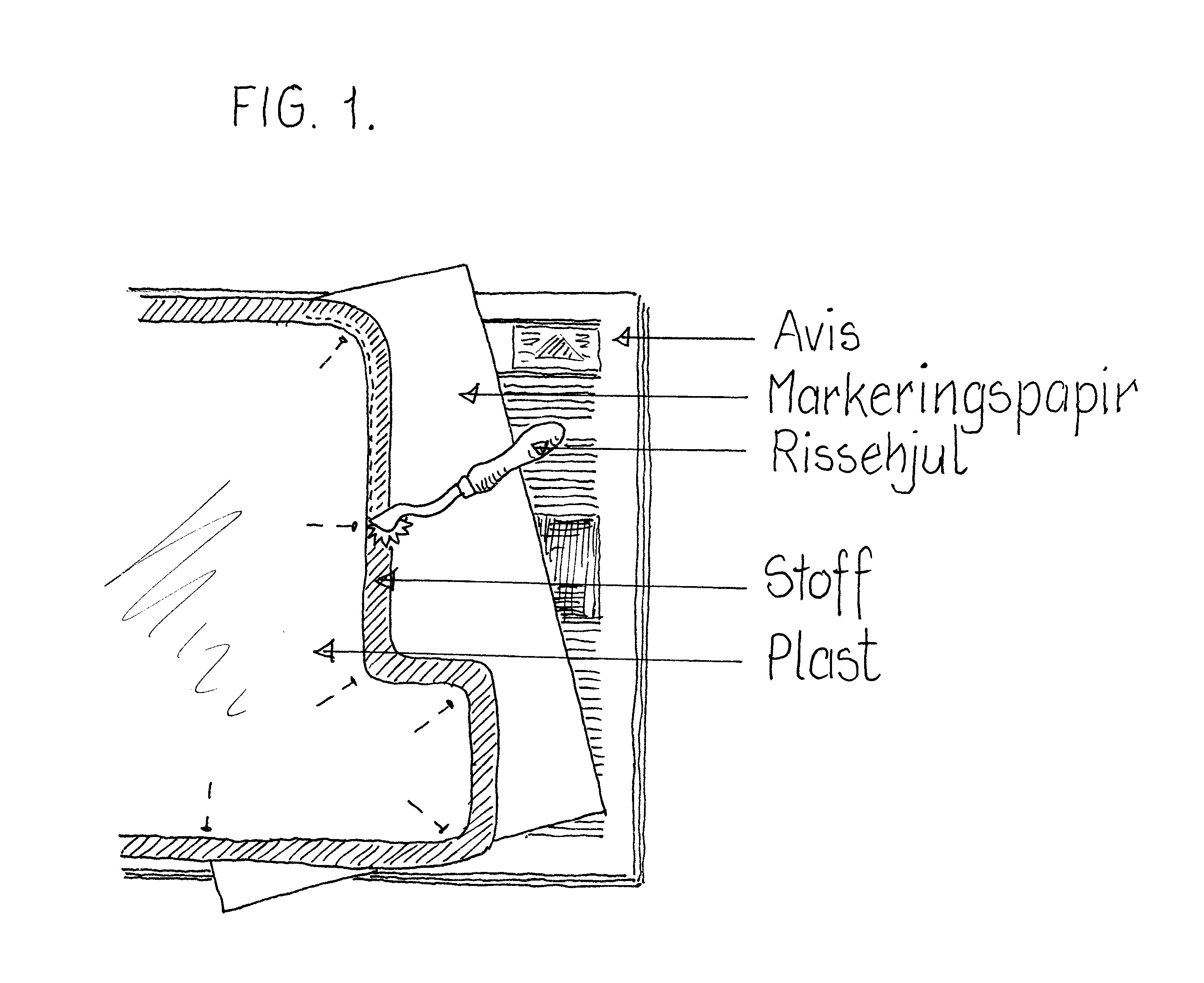
Etter hvert som delene klippes ut, før du fjerner mønsteret fra stoffet, merker du av hvor sømmen skal gå med markeringspapir og rissehjul (fig. 1). Legg en avis på bordet under markeringspapir, stoff og plast, slik at du ikke risser merker i bordet. Når du har risset den ene siden tar du vekk plastmønsteret, snur stoffet, legger det igjen på markeringspapiret og merker av med rissehjulet på den andre siden. Når alle delene er klippet ut og merket, starter vi med sømmen.

Det første vi gjør er å sy borrelås på lengdene rundt putene (fig. 2). Sørg for at disse kommer i bakkant av putene slik at de ikke vises. Det delte stykket med borrelåsen sys sammen med resten av lengden i den ene enden.

Fest lengden til over- og undersiden av puten med knappenåler på vrangen (fig. 3). Når dette er gjort ser du hvor du skal sy sammen den andre enden av lengden/borrelåsen. Putetrekket sys sammen. Renklipp sømmonnet til ca. 1/2 cm og sy med kastesting over alle sømmer. Åpne borrelåsen og vreng putetrekket slik at retten kommer ut. Hvis du vil ha en kant rundt putene slik som på bildet, gjør du det som vist på fig. 4 a, b, c.

Sett sammen delene til armlenet med knappenåler før du syr, se fig. 5. Renklipp sømmonet til ca. 1/2 cm og kast over alle sømmene. Fall inn kantene som ikke er sydd sammen og legg opp nedentil.

Legg opp nedentil like mye som på armlene-delen. Lag en brett på ca. 1 cm oppe og sy denne. Mål med stoffstykket på sofaen hvor hjørnene er, og sy disse som vist på fig. 6.

Vi har ikke brydd oss om å trekke om ryggen bak putene fordi den ikke synes.

Pynteputene syr du som et putevar (se fig. 7).

©ifi 2002

Relaterte emner

Annonse
HappyHomes annons
Dette trenger du:
  • Bygningsplast (fås kjøpt i byggvarehus)

 

  • Tykk tusjpenn

 

  • Knappenåler

 

  • Borrelås

 

  • Stoff

 

  • Markeringspapir (fås kjøpt i syutstyrsforretninger)

 

  • Rissehjul (syutstyrsforretninger)

 

  • Avis

 

  • Saks

 

  • Tråd

 

  • Symaskin

Vær klar over at fargene på skjermen avviker fra originalene.

    Enkelte produkter kan være utgått.

      Produkter som ikke er listet opp i fasit er privat eie.

         

          Les også:

            Se huskelisten din

            Hei, denne artikkelen er over 2 år gammel, og kan inneholde utdatert informasjon. Finn de siste artiklene om dette emnet.

            Vi anbefaler
            Mer fra Oppussing av møbler
            Annonse
            HappyHomes annons
            Siste artikler
            Brukerundersøkelse